The Secret Source of Inspiration
What going into the archives really means
I recently gave a talk for the USPTO, which I referenced in a past Substack post on the value of protecting your IP. However, one of my biggest takeaways from having a handbag patent was learning about the patent process, and that examiners have to go back and see if anyone had done anything similar in the past, and if so - they need to reference that in your potential patent assignment.
Having three handbag patents myself, I was astounded to see how many bags had been making similar designs to mine for almost a hundred years. As a result, I learned more about the origin of handbag patents and that so many great designs are available for inspiration and interpretation.
Patents for handbags date back to the 1800s, giving you a great opportunity to find new designs that have not been used for over a century. With utility patents good for 20 years and design patents good for 15 years, as designers, you are able to go into the archives of bags from the 1940s and use them as inspiration for your new bags.
The power of research, which I teach, is truly exciting, especially when it is so easy to hit a creative wall. As someone who considers themselves a handbag history buff, I love to search for handbag patents within certain eras; it’s also fascinating to ask the “why” and what was going on at that time that made this handbag patent so groundbreaking.
Funnily enough, all of the digging brought me back to this, which has been a bee in my bonnet. M.A. Tatom was a widow from Mississippi who moved to DC, worked for a patent attorney, and decided to patent this particular bag when her family had no claim to plantations and after emancipation had been legalized. She then moved back to Mississippi and did nothing with that patent, without licensing or using it for commerce. (I went down a real rabbit’s hole with this one since it doesn’t make sense!) If you are interested in working with me on researching this, definitely message me after.
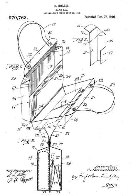
Take the patent above. It says in the description that it’s a pocketbook or wallet, meaning it can not only be a wallet but also fit in your pocket. Note that for every designer who claims they knocked off Alexander McQueen, look again.
This handbag patent is interesting because adding additional storage was such a novel concept that it was worthy of protection. If you can see closely, it’s a mini coin purse built into the actual handbag.
Finally, this is one of my favorites. It’s a bowling bag, which shows how the bowling ball was to be supported on the interior.
One central closing point is to always look at the “STATUS. " If you see above that it says “expired,” then you can use the bag as inspiration - especially if it’s from 1929.











